Установка сигнализации на Skoda Fabia с 2013 года, точки подключения Шкода Фабия
Подключение и установка автосигнализации StarLine B94 на автомобиль Skoda Fabia 2013 года с АКПП
Устанавливаемое оборудование: Автосигнализация StarLine B94 Сигнализация с интеллектуальным авто запуском двигателя и 2CAN модулем Модуль обхода штатного иммобилайзера BP-03 1. Для доступа к жгуту замка зажигания снимаем руль Шкода Фабия. Для этого сначала снимаем верхнюю часть кожуха рулевого вала вместе с декоративной накладкой щитка приборов (крепление на защёлках). Затем снимаем подушку безопасности, для этого необходимо сдвинуть фиксаторы с обратной стороны руля. Далее отворачиваем винт крепления рулевого колеса и снимаем его. Отворачиваем два самореза и винт крепления нижней части кожуха и снимаем её
2. Для доступа к жгуту кнопки аварийной сигнализации вынимаем декоративные заглушки по бокам блока управления климат-контролем, затем снимаем декоративную рамку вокруг дефлектора центрального воздуховода и вынимаем его
3. Устанавливаем антенну со встроенным датчиком удара и наклона на лобовом стекле, светодиод на левой стойке. Сервисную кнопку устанавливаем в любом удобном месте
4. Устанавливаем под капотом Шкода Фабия сирену, концевик и датчик температуры
5. Блок сигнализации прячем за центральным воздуховодом.
6. Массу подключаем в штатном месте на рулевой колонке.
7. Провода CAN-шины подключаем в жгуте зелёного разъёма за магнитолой
8. Питание сигнализации подключаем на монтажном блоке предохранителей
9. Подключаем бело-красный провод сигнализации к бело-зелёному проводу в жгуте кнопки управления аварийкой.
10. В жгуте проводов, выходящем из водительской двери, подключаем управление центральным замком по Схеме 1.
11. Для реализации автозапуска подключаем провода наличия ключа в замке (к зеленому проводу силового модуля запуска сигнализации), аксессуаров, зажигания и стартера в жгуте разъёма замка зажигания
12. Для обхода штатного иммобилайзера вынимаем батарейку из штатного ключа и помещаем его в модуль обхода. Подключаем модуль в разрыв любого из двух проводов штатной рамки на замке зажигания
13. Сигнал педали тормоза, а также стояночного тормоза присутствует в шине CAN. Поэтому на Skoda Fabia с МКПП следует не подключать оранжево-фиолетовый и сине-красный провод сигнализации, а на Skoda Fabia с АКПП необходимо в настройках CAN интерфейса отключить сигнал стояночного тормоза и подсоединить к массе сине-красный провод. 14. Программируем CAN модуль. При нажатой сервисной кнопке подаем питание на систему, дожидаемся 5 коротких сигналов сирены, отпускаем кнопку, затем нажимаем один раз для входа в режим выбора автомобиля. Вводим код автомобиля 4845 согласно инструкции по установке. 15. Программируем параметры запуска автомобиля (Таблица 2 инструкции по установке). Программируемая функция Значение функции № 09 — длительность прокрутки стартера Вариант 4 6,0 секунд № 11 — контроль работы двигателя Вариант 2 Генератор “+” 16. Настраиваем датчик удара и наклона, проверяем работу системы. Сборку салона Skoda Fabia проводим в обратной последовательности. «Установка сигнализации на Skoda Fabia с 2013 года, точки подключения Шкода Фабия» Ссылка на основную публикацию
Точки подключения автосигнализации на Skoda Fabia 2010
Силовые для автозапуска на замке зажигания: +12 — красный зажигание — черный асс — черно/красный стартер — красно/черный
Управление центральным замком: В водительской двери желтый/синий через сопротивление 200 — 300 ом на землю на откры тие и непосредственно на землю на закрытие
Концевики дверей: 18-ми контактный разъем на блоке управления 3 — правая задняя дверь 4 — правая передняя дверь 13 — левая задняя дверь 6 — водительская дверь
Концевик багажника: 6-ти контактный разъем между 18-ми контактным и 16-ти контактным 4 контакт коричневый/зелёный
Поворотники: 16-ти контактный разъем 14 черный/зелёный и 16 черный/белый контакты
Ручник: приборная панель 21 контакт разъем синий/черный (зеленый)
Педаль тормоза — черный/красный
Катушка иммобилайзера: приборная панель разъем (зеленый) 1 и 17 контакт либо на катушке у ключа
Датчик давления масла: приборная панель разъем (зеленый) 23 контакт
Провод от генератора синий (возбуждение) на блоке управления бортовой сетью
Стояночные огни: приборная панель разъем (черный) 6 и 4 контакт
Ошибки на приборке Фабии
Полный список кодов Шкоды насчитывает несколько тысяч позиций. По этой причине, далее приведены основные из них, наиболее распространенные при диагностике авто.
| Номер | Расшифровка |
| 0010/0015 | Сбои в работе распределителя фаз №1 |
| 0016/0019 | ДПРВ и ДПКВ – рассинхронизация модулей. |
| 0020/0025 | Сбои в работе распределителя фаз №2 |
| 0033/0035 | Перебои в работе турбины. |
| 0065/0067 | Неполадки в работе форсунок. |
| 0089/0092 | Модуль подачи топлива работает неправильно. |
| 0101/0104 | Неисправности в расходометре воздуха. |
| 0116/0118 | ДТОЖ передает неправильные данные или мотор перегрет. |
| 0120/0123 | Потенциометр дроссельной заслонки функционирует некорректно. |
| 0130/0134 | ДК1 неправильная работа. |
| 0135/0141 | Аналогично для ДК2 |
| 0142/0147 | Неисправности ДК3. |
| 0170/0175 | Топливная смесь образуется неправильно. |
| 0177/0179 | Неправильно работает датчик качества топлива. |
| 0190/0194 | Давление топлива отличается от установленного. |
| 0200/0212 | Проблемы с электрикой форсунок. |
| 0221/0223 | ДПДЗ неправильно функционирует. |
| 0234/0250 | Регулятор давления наддува передает неправильные данные. |
| 0251 | ТНВД работает некорректно. |
| 0300/0312 | Имеются множественные пропуски зажигания. |
| 0351/0362 | Сбои в зажигании одного из цилиндров. |
| 0400/0404 | Система рециркуляции выхлопа работает неправильно. |
Предохранитель прикуривателя шкода фабия
Он находится под рулевым колесом и прикрыт защитным кожухом.

На задней крышке должно быть обновленное описание агрегата для вашего автомобиля.

Серийный номер этого обозначения будет размещен в правом углу. Вот 4 наиболее распространенных варианта:
- 5J0010675 — Fabia с 2007 по 2010 год.
- 5J0010743 — Fabia с 2010 по 2012 год
- 5J0010623A — Fabia 2 с 2007 по 2010 (дорестайлинг)
- 5J0010826P — Fabia с 2012 по 2015 год
Следовательно, обозначение может измениться.

- Не принято
- Реле стартера 5А
- 7.5A Электроника двигателя, блок управления бортовой сетью, регулятор угла наклона фар, диагностика интерфейса шины данных, стабилизатор напряжения
- Блок управления АБС 5А, датчик угла поворота рулевого колеса, кнопка режима Старт-стоп
- Устройство круиз-контроля 5А (для бензиновых двигателей)
- 10А Фонарь заднего хода, (для автомобилей с МКПП)
- 5A Блок управления двигателем, Система зажигания (для автомобилей с механической коробкой передач), 7.5A Электронная система двигателя, Рычаг предварительного выбора автоматической коробки передач
- 5A Выключатель педали тормоза, Выключатель педали сцепления, Блок управления вентилятором радиатора
- 5А Блок управления адаптивным освещением и регулировкой угла наклона фар, Блок управления кондиционером, климат-контролем, вентилятором радиатора, блоком управления парктроником.
- не принято
- 5A Регулировка наружных зеркал заднего вида
- 5А Блок управления распознавания прицепа
- 5A Мехатроник коробки передач с двойным сцеплением, блок управления автоматической коробкой передач
- 10A Модуль адаптивного света левой фары, Модуль адаптивной фары правой стороны
- Преобразователь напряжения 5А 12В / 5В, Навигация
- 5A Блок управления двигателем, реле топливного насоса, датчик спидометра (для автомобилей без АБС), блок управления топливным насосом
- 7.5A Левая или правая лампа дневного света (ДХО), левый или правый светодиодный модуль ДХО и габаритный свет
- 5A Обогрев наружных зеркал заднего вида
- 5A Контакт S
- 15А Блок управления топливным насосом
- 10A Фонарь заднего хода для автомобилей с АКПП или противотуманными фарами при подключении через BCM
- 7,5А Панель приборов, диагностический разъем, блок управления, многофункциональное рулевое колесо (без системы старт-стоп)
- 15А Внутреннее освещение кузова, полка для хранения, освещение багажного отделения
- 5А Блок управления бортовой электросетью автомобиля
- Сиденья с подогревом 20А
- Электродвигатель заднего стеклоочистителя 10А
- не принято
- 10A Электроника двигателя
- 10A Электроника двигателя
- 15A / 20A Топливоподкачивающий насос, трансформатор высокого напряжения системы зажигания, датчик положения педали сцепления, реле малой тепловой мощности, круиз-контроль (для дизельных двигателей)
- Лямбда-зонд 10А
- 15A Клапан регулировки давления топлива
- 15А Блок управления двигателем
- 20A Вакуумный насос тормозной системы, Блок управления двигателем, Электронная система двигателя
- 5А Контрольная лампа корректора фар
- 15A Дальний свет
- 7.5A Левая задняя противотуманная фара, задняя противотуманная фара
- 10A Противотуманная фара
- Вентилятор 30А для приточного воздуха
- Выключатель стеклоочистителя заднего стекла 15А, резистор обогрева омывателя лобового стекла
- не принято
- 25А Обогрев заднего стекла
- 20A Звуковые сигналы
- Электродвигатель стеклоочистителя 20А
- 10А Электродвигатель центрального замка в крышке багажника (Центральный замок)
- 15А Противоугонная сигнализация (для системы старт-стоп)
- Прикуриватель 15А, розетка 12В
- Блок управления АБС 15А
- 15A Указатель поворота
- 10A Радионавигация
- 25A Блок управления двери водителя, Блок управления задней левой двери
- 25A Блок управления двери переднего пассажира, Блок управления задней правой двери
- 25A Блок управления сдвижной крышей
- Противоугонная 15А (без системы старт-стоп)
- Механическая коробка передач с двойным сцеплением 30А
- 25А Реле омывателя фар
- 15A Ближний свет и диапазон фар, левая сторона
- 15А Лампа наклона для ближнего света и передних фар, правая сторона
Предохранитель №47, 15А, отвечает за прикуриватель. А для уборщицы номер 10 или 40.
Блок реле
Расположен в дальнем конце приборной панели за левой крышкой.


- R9 — реле кондиционера;
- R4 — реле подачи топлива на напорную магистраль;
- R1, R6, R11-R15 — резерв;
- R8 — реле топливного насоса;
- R7 — реле передних габаритных огней;
- R5 — силовое реле;
- R10 — контакт реле «Х»
- R2 — реле обогрева лобового стекла (в зависимости от комплектации);
- R3 — реле блокировки стартера;
Ответ: Установка сигналки на Skoda Octavia 2008г.
Я не буду рассказывать о реализации блокировок двигателя и подключении проводов дополнительных каналов. Тут я оставлю Вам место для самостоятельного творчества.
Установка автосигнализации на lada vesta. Точки подключения.
Так же Вы сами разместите блок сигнализации, сервисные кнопки, дополнительные датчика и сирену таким образом, как сочтёте нужным.
Добавлю лишь, что помимо блокировок двигателя от сигнализации я сделал ещё независимую кнопку блокировки одной из цепей двигателя.
Точки подключения автосигнализации на Skoda Octavia
Для работы SLAVE при заведённом двигателе нужно также сканером разрешить работу штатного ключа при включенном зажигании. При этом в памяти будет ошибка по корреляции концевика педали тормоза, но на панели светиться не будет.
При этом реле запитывается от синего провода силового модуля и требуется развязка двумя диодами.
Подключиться к ним можно либо в рулевой колонке либо в разъёме А на BCM. Обязательно запрограммировать работу выхода так, чтобы питание с него не пропадало на время запуска, иначе ошибок будет полная машина после первой же попытки запуска. Очистка памяти контроллера от ошибок Замер разгона автомобиля Ключ прописать Allroad 4B С5. А то две болванки нарезал, теперь надо чип прописать в иммо.
У кого есть шнурок такой, прошу. Повторяю — если один раз необходимо прописать ключ, то конечно и имея такую БД уже б начали массово вскрывать шкоды Smile Если вы захотите сделать запасной ключ Skoda или несколько дубликатов, вам ключа Skoda,а также мы можем прописать новый ключ в Вашем авто и.
Skoda fabia обвес клапана нива шевроле. Прошивка ключа Skoda — Skoda octavia привязать ключ. Прошить ключ зажигания Шкода Октавиа -.
Skoda Octavia не можем прописать: У нас можно прописать ключ на БМВ и другую марку. Не пытайтесь прошить ключ сами перепрошивка ключа зажигания Chevrolet; Ключи Skoda. Может кто поделится чем можно у этого авто можно прописать ключ в иммо.
Ремонт ключа Skoda -. Прописан дополнительно ключ с чипом на автомобиль Honda Elysion г.
Япония Добавлен чип для автозапуска на ам koda Fabia г. Skoda SuperB Слетел ключ постоянная часть кода из дампа. И можно ли считать с ключа постоянный код и прописать обратно? Восстанавливаем ключи с иммобилайзером Форум Защита от угона. Ключ зажигания Vw Skoda купить в Москве на Avito -. Для автозапуска можно заказать у ОД ключ без радиоуправления. Прописать ключ можно только на дилерском оборудовании через.
Статьи о разном — Автомобильные ключи в Уфе. Програмирование ключей на Ford,Chevrolet. Прежде всего для этого необходимо знать код приборной панели состоит он из 4-х цифр. Получить такой код можно с помощью.
Изготовление и продажа Чип ключей. Прописать ключ на тигуан года — Форум по автодиагностике 14 июл Заводится ключом без батарейки. KODA Ключи на тур прописать — можно и не особо долго, но другой приблудой, а то и. Заводится ключом без батарейки:: Также эти провода можно найти в жгуте к замку зажигания, на BCM, в пороге, вероятно где-то ещё. В CAN весь периметр, зажигание, контроль работы двигателя, тормоз, ручник, управление штаткой, дотяжка стёкол, открытие багажника, кнопки руля для валидатора, SLAVE.
Для полноценного управления штаткой нужно сканером разрешить снятие штатки с охраны по личинке.
Для работы SLAVE при заведённом двигателе нужно также сканером разрешить работу штатного ключа при включенном зажигании. При этом в памяти будет ошибка по корреляции концевика педали тормоза, но на панели светиться не будет.
Метки: видео, дрифт, кроун, тойота
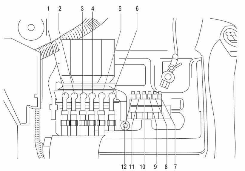
Блок под капотом
Монтажный блок с предохранителями и плавкими вставками находится в крышке на аккумуляторной батарее.
Вариант 1
Схема

Назначение
- 175А Генератор
- Не занято
- 80А Внутренне пространство
- 60А Дополнительный электрический обогрев
- 40А Внутренне пространство
- 50А Вентилятор системы охлаждения, свечи накаливания
- 50А Электрическое рулевое управление
- 25А ABS, ESP, ASR
- 30A Вентилятор системы охлаждения
- 5A Вентилятор системы охлаждения
- 40A ABS, ESP, ASR
- 5A Центральный блок управления
- 5А Автоматическая коробка передач, 40А Дополнительный обогрев
Вариант 2
Схема

Описание
| 1 | 175А Генератор |
| 2 | 80А Блок управления электрооборудованием |
| 3 | 60А Дополнительный отопитель |
| 4 | 40А Гидро электронный блок ABS |
| 5 | 50А Блок управления усилителя рулевого управления |
| 6 | 50А Свечи накаливания |
| 7 | 5А Автоматическая коробка передач |
| 8 | 40А Блок управления электрооборудованием |
| 9 | 30А Вентилятор системы охлаждения |
| 10 | 5А Кондиционер |
| 11 | 30А Вентилятор системы охлаждения |
| 12 | 25А Гидро электронный блок ABS |
Схема автомобиля — Шкода Фабиа 2
Бесплатные схемы электрооборудования Шкода Фабиа с 2006 г. В данном материале показана электросхема легкового автомобиля Scoda Fabia, предназначенная для ремонта и обслуживания электронной части авто. Система управление двигателями, запуск двигателя и зарядка аккумуляторной батареи, система охлаждения двигателей, диагностический разъем, центральный замок, привод стеклоподъемников, фонари заднего хода, передние и задние противотуманные фары, габаритные огни и огни освещения номерного знака, указатели поворотов и аварийная сигнализация, а также остальные системы и электропроводка для соединения всех этих узлов. Всё это будет полезно для автоэлектриков СТО указанного автомобиля.
Точки подключения автосигнализации на Skoda Fabia 2010
Прислал engeneer70
Силовые для автозапуска на замке зажигания:+12 — красныйзажигание — черныйасс — черно/красныйстартер — красно/черный
Управление центральным замком: В водительской двери желтый/синий через сопротивление 200 — 300 ом на землю на открытие и непосредственно на землю на закрытие
Концевики дверей: 18-ми контактный разъем на блоке управления 3 — правая задняя дверь 4 — правая передняя дверь 13 — левая задняя дверь 6 — водительская дверь
Концевик багажника: 6-ти контактный разъем между 18-ми контактным и 16-ти контактным 4 контакт коричневый/зелёный
Поворотники: 16-ти контактный разъем 14 черный/зелёный и 16 черный/белый контакты
Ручник: приборная панель 21 контакт разъем синий/черный (зеленый)
Педаль тормоза — черный/красный
Катушка иммобилайзера: приборная панель разъем (зеленый) 1 и 17 контакт либо на катушке у ключа
Датчик давления масла: приборная панель разъем (зеленый) 23 контакт
Провод от генератора синий (возбуждение) на блоке управления бортовой сетью
Стояночные огни: приборная панель разъем (черный) 6 и 4 контакт
| Цепь | Цвет | Полярность | Расположение |
| + 12 | красный | положительная | жгут замка зажигания |
| зажигание | чёрный | ||
| зажигание 2 | чёрный/красный | ||
| стартер | красный/чёрный | ||
| асс | зелёный/коричневый | ||
| Некоторые советуют для удобства подключения к силовым цепям снимать руль. У меня всё получается подключать без снимания руля. Для обхода иммобилайзера можно или петлю надеть на замок зажигания, или в разрыв одного из проводов с антенны родного иммобилайзера на замке. Работают оба способа без проблем. | |||
| стоп сигналы | чёрный/красный | положительная | левый порог |
| габариты (к поворотам по силе лучше не цепляться — появляется ошибка через некоторое время) | серый/красный | положительная | переключатель габаритов |
| концевик багажника | коричнево/зелёный | отрицательная | левый порог (диод в разрыв) |
| концевик водительской двери | коричнево/фиолетовый | жгут из двери | |
| концевик правой передней двери | коричнево/фиолетовый | ||
| концевик левой задней двери | зелёный/жёлтый | ||
| концевик правой задней двери | зелёный/жёлтый | ||
| центральный замок | жёлтый/синий, закрыть — масса, открыть — масса через сопротивление 180 Ом | жгут из двери водителя (при удержании массы работает «комфорт») |
Концевики подключать по такой схеме
Блоки в салоне
Блок предохранителей
Он находится под рулевым колесом и прикрыт защитным кожухом.
фото — пример

На задней крышке должно быть обновленное описание агрегата для вашего автомобиля.

Серийный номер этого обозначения будет размещен в правом углу. Вот 4 наиболее распространенных варианта:
- 5J0010675 — Fabia с 2007 по 2010 год.
- 5J0010743 — Fabia с 2010 по 2012 год
- 5J0010623A — Fabia 2 с 2007 по 2010 (дорестайлинг)
- 5J0010826P — Fabia с 2012 по 2015 год
Следовательно, обозначение может измениться.
Общая схема

Описание
- Не принято
- Реле стартера 5А
- 7.5A Электроника двигателя, блок управления бортовой сетью, регулятор угла наклона фар, диагностика интерфейса шины данных, стабилизатор напряжения
- Блок управления АБС 5А, датчик угла поворота рулевого колеса, кнопка режима Старт-стоп
- Устройство круиз-контроля 5А (для бензиновых двигателей)
- 10А Фонарь заднего хода, (для автомобилей с МКПП)
- 5A Блок управления двигателем, Система зажигания (для автомобилей с механической коробкой передач), 7.5A Электронная система двигателя, Рычаг предварительного выбора автоматической коробки передач
- 5A Выключатель педали тормоза, Выключатель педали сцепления, Блок управления вентилятором радиатора
- 5А Блок управления адаптивным освещением и регулировкой угла наклона фар, Блок управления кондиционером, климат-контролем, вентилятором радиатора, блоком управления парктроником.
- не принято
- 5A Регулировка наружных зеркал заднего вида
- 5А Блок управления распознавания прицепа
- 5A Мехатроник коробки передач с двойным сцеплением, блок управления автоматической коробкой передач
- 10A Модуль адаптивного света левой фары, Модуль адаптивной фары правой стороны
- Преобразователь напряжения 5А 12В / 5В, Навигация
- 5A Блок управления двигателем, реле топливного насоса, датчик спидометра (для автомобилей без АБС), блок управления топливным насосом
- 7.5A Левая или правая лампа дневного света (ДХО), левый или правый светодиодный модуль ДХО и габаритный свет
- 5A Обогрев наружных зеркал заднего вида
- 5A Контакт S
- 15А Блок управления топливным насосом
- 10A Фонарь заднего хода для автомобилей с АКПП или противотуманными фарами при подключении через BCM
- 7,5А Панель приборов, диагностический разъем, блок управления, многофункциональное рулевое колесо (без системы старт-стоп)
- 15А Внутреннее освещение кузова, полка для хранения, освещение багажного отделения
- 5А Блок управления бортовой электросетью автомобиля
- Сиденья с подогревом 20А
- Электродвигатель заднего стеклоочистителя 10А
- не принято
- 10A Электроника двигателя
- 10A Электроника двигателя
- 15A / 20A Топливоподкачивающий насос, трансформатор высокого напряжения системы зажигания, датчик положения педали сцепления, реле малой тепловой мощности, круиз-контроль (для дизельных двигателей)
- Лямбда-зонд 10А
- 15A Клапан регулировки давления топлива
- 15А Блок управления двигателем
- 20A Вакуумный насос тормозной системы, Блок управления двигателем, Электронная система двигателя
- 5А Контрольная лампа корректора фар
- 15A Дальний свет
- 7.5A Левая задняя противотуманная фара, задняя противотуманная фара
- 10A Противотуманная фара
- Вентилятор 30А для приточного воздуха
- Выключатель стеклоочистителя заднего стекла 15А, резистор обогрева омывателя лобового стекла
- не принято
- 25А Обогрев заднего стекла
- 20A Звуковые сигналы
- Электродвигатель стеклоочистителя 20А
- 10А Электродвигатель центрального замка в крышке багажника (Центральный замок)
- 15А Противоугонная сигнализация (для системы старт-стоп)
- Прикуриватель 15А, розетка 12В
- Блок управления АБС 15А
- 15A Указатель поворота
- 10A Радионавигация
- 25A Блок управления двери водителя, Блок управления задней левой двери
- 25A Блок управления двери переднего пассажира, Блок управления задней правой двери
- 25A Блок управления сдвижной крышей
- Противоугонная 15А (без системы старт-стоп)
- Механическая коробка передач с двойным сцеплением 30А
- 25А Реле омывателя фар
- 15A Ближний свет и диапазон фар, левая сторона
- 15А Лампа наклона для ближнего света и передних фар, правая сторона
Предохранитель №47, 15А, отвечает за прикуриватель. А для уборщицы номер 10 или 40.
Блок реле
Расположен в дальнем конце приборной панели за левой крышкой.

Схема

Расшифровка
- R9 — реле кондиционера;
- R4 — реле подачи топлива на напорную магистраль;
- R1, R6, R11-R15 — резерв;
- R8 — реле топливного насоса;
- R7 — реле передних габаритных огней;
- R5 — силовое реле;
- R10 — контакт реле «Х»
- R2 — реле обогрева лобового стекла (в зависимости от комплектации);
- R3 — реле блокировки стартера;
Другие болячки «Фабии»
С лакокраской у Fabia все не так однозначно. Российские машины окрашены лучше и лучше сохраняют визуальные качества, а чешские — сплошь в задирах и сколах на капоте и бампере. Это же касается других моделей концерна VAG: на российских заводах окраска отличается. Если на парковке стоит, например, ободранный Golf и сверкающая Jetta, очевидно даже без специальных знаний, что один собран в Вольфсбурге, второй — в Нижнем Новгороде.
Что до «Фабии», то машины после 2008-го — сплошь из Калуги. «Чешками» были только самые первые экземпляры и спецверсии Scout и RS, у них состояние кузова будет хуже.
Подвеска «Фабии» проблемы доставляет, но по мелочи. Держать про запас (все равно менять каждый год) надо:
- сайлентблоки рычагов передних (задние) — от 400 руб./шт.;
- втулки и стойки стабилизатора (от 700 руб./шт.).
Амортизаторы и рычаги прочные, могут выходить и до 200 тыс. км. Тормоза — как ездить: колодки тысяч после 50 можно и поменять, а ресурса дисков явно хватит не на одну жизнь.
Также читайте: Skoda Octavia II или Toyota Corolla X: кто сломается первым


























