Моторы, которые установлены в Фабии
При правильной эксплуатации любой мотор, установленный в Шкоду Фабию сможет спокойно отслужить 250000 км. пробега. Потому что, эти моторы цельноалюминиевые и работают на бензине. Есть конечно и слабые места, например, на 3-х цилиндровом атмосферном моторе с объемом 1,2 литра и 4-х цилиндровом турбированном моторе — привод механизма газораспределения, который не особо долговечен. На 3-х цилиндровых моторах, которые старше 2010 года может растянуться цепь примерно на 100000 км.

Если появится характерное громыхание, то надо срочно менять цепь и звездочки, цепь стоит 50 евро, а звездочки – по 20 евро. Главное не допустить, чтобы цепь перескочила на пару звеньев, потому что придет конец головке блока цилиндров – клапана встретятся с поршнями.
После того, как сделали рестайлинг Шкоды Фабии, то ресурс цепного привода увеличился до 150000 км. Кстати, нельзя Фабию заводить с толкача, потому что даже исправная цепь легко сможет перескочить на несколько зубьев.

А зимой надо обязательно прогревать мотор перед тем, как машина начнет движение, потому что свечи может залить топливом. А на низких оборотах могут быть пропуски зажигания, если свечи заросли нагаром. Из-за этого, кстати, могут выйти из строя катушки, каждая из которых стоит 30 евро. Как правило, если свечи заросли, то катушки в таких условиях смогут отработать не более 40000 км.
Большинство автомобилей данной модели укомплектованы мотором с объемом в 1,4 литра. На этих моторах нет цепи, поэтому и нет проблем. Но зато в этом моторе есть ремень ГРМ, который надо менять каждые 80000 км. Главное не допускать, чтобы он оборвался. Кстати, все моторы требуют только качественное топливо, если случайно залить паленый бензин, то может выйти из строя нейтрализатор, да и вообще можно попасть на капитальный ремонт мотора.
Есть еще и модификации с мотором, объем которого равен 1,6 литров. В этом моторе цепной привод ГРМ держится долго, единственное, за чем надо следить, так это над очисткой блока дроссельной заслонки от отложений.
Есть еще и мотор серии CFNA, который стали устанавливать и в послерестайлинговую Фабию, и в Фольксваген Поло, который тоже выпускают на калужском заводе. На этих моторах поршни на непрогретом моторе могут ударяться короткой юбкой об стенки цилиндров. Поначалу дилеры меняли эти поршни по гарантии, правда к серьезным последствиям эти стуки не приводят. А уже после 2013 года были поршни доработаны, на них изменили геометрию, и эта проблема прошла.
Шкоды Фабии с дизельными моторами официально в России не продавались, есть только европейские версии, которые укомплектованы мотором в 1,4 литра. Особых проблем у дизельной модификации Фабии нет, правда заправляться надо качественной соляркой, потому что каждая форсунка стоит примерно 350 евро.
Приключения электроники
Практичный и, на удивление, вместительный салон модели поломками практически не досаждает. Зато зазвучать в любой момент готовы либо пресловутые «сверчки» из нутра панели, либо вентилятор отопителя.К электрике в этом автомобиле, пожалуй, больше всего вопросов. Если даже не брать в расчет отзывную кампанию по замене элементов подогрева сидений, то из других возможных неисправностей можно составить небольшой список.К слабым местам модели владельцы относят заедание концевиков капота и дверей, «глюки» центрального замка (не реагирует на брелок), кратковременный отказ стеклоподъемников и поломка блока управлением вентилятора двигателя (крыльчатка не останавливается после охлаждения мотора). И это притом, что электроники у «Фабии» в принципе немного.
Слабым местом также прослыло крепление задней полки, отламывающееся на раз-два
Ресурс двигателя
Рассмотрев все особенности силового агрегата на Skoda Fabia, можно уже задаваться вопросом, каков ресурс двигателя. Некоторые люди считают, что эта цифра равна 150000 километров. Но, это не так. В этом случае, за ресурс принимают срок замены ГРМ, это неверно. Цепь привода на самом деле является расходником, и работа по ее замене не считается капитальным ремонтом.
Производитель не называет точного пробега, после которого износ двигателя становится критическим. Некоторые официальные дилеры заявляют о пробеге в 300.000
километров, после которого необходимо производить капитальные работы по ремонту, или ставить новый мотор. Но, на практике имеются автомобили, отходившие по 400-500 тысяч километровбез всякого ремонта .
Проблемы с этим двигателем обычно связаны с неправильным уходом. Если не менять своевременно масло и прочие расходники, то даже самый хороший мотор сломается. В остальных случаях, агрегат показывает себя достаточно надежным.
Неисправности системы питания двигателя
Проблемы с питанием двигателя следует начинать проверять с контроля наличия горючего в бензобаке. При этом следует учитывать, что показатели топливного индикатора не всегда корректны. С прочими проблемами системы питания мотора можно ознакомиться в таблице ниже.
Таблица — Проявление неисправностей топливной системы.
| Причина неисправности | Проявление |
|---|---|
| Низкое качество горючего | Двигатель отказывается заводиться после заправки |
| Обрыв топливной магистрали | Пуск невозможен сразу после получения повреждения |
| Забивание форсунок | Сложности завести машину появляются постепенно с нарастанием отложений на распылителе |
Где купить и сколько стоит
Сегодня купить Skoda Fabia 2 можно только на вторичном рынке автомобилей, поскольку с конвейера эту модель уже не выпускают. Большой выбор машин представлен на сайтах, на которых размещены доски с бесплатными объявлениями о продажах и обменах. Существует вариант приобретения подержанного авто у официального дилера.
Цена в России на Шкоду Фабия 2 колеблется в зависимости от ряда факторов:
• год выпуска. Фабию выпускали с 2007 по 2010 годы. В 2010 году в продаже появилась рестайлинговая модель и продавалась по 2014 год. Так же, параллельно с 2007 по 2010 годы выпускалась Фабия универсал, которая с 2010 года тоже получила рестайлинг кузова, и в таком виде продавалась по 2014 год. Соответственно более поздние модели будут стоить дороже тех, которые выпускались ранее.
В среднем, Фабию 2 2007 – 2008 года в хорошем состоянии можно взять за 450 000 рублей, а рестайлинговую 2011 года за 500 000 – 550 000 рублей.
• комплектация. Так же на цену влияет комплектация автомобиля и установленный в ней двигатель. Так, Skoda Fabia 2 в комплектации Classic с двигателем 1,2 бензиновым будет стоить в районе 410 000 рублей. А Фабия 1,6 Elegance с автоматической шестиступенчатой коробкой передач — около 630 000 рублей. А дизельные Фабии в хорошем состоянии стоят еще дороже.
Процесс сборки
Всё старые детали тщательно отмыли и подготовили к сборке.




















Установили крышку ГРМ и новый тефлоновый сальник. Задний сальник тоже необходимо заменить

Сцепление тоже ставим новое так как пружины с диска вылетели и износ достаточно сильный.
Я думаю что фотографий достаточно, но мы этим не ограничились и сняли небольшое видео о переборке двигателя Фабия 1,2:
Запчасти приобретались в магазине Интеркар и Auto-cz
Вообще данный двигатель считается не ремонтопригодным, так как в оригинальном каталоге запчастей нет поршней для заказа, как и многих запчастей. Но мы доказали обратное!
Стоимость работы от 20000 рублей.
Источник статьи: http://automaster71.ru/remont-avtomobilej/remont-dvigatelej/kapitalnyj-remont-dvigatelya-skoda-fabia-1-2-azq-bme/
Интерьер
Внутри Шкода Фабия 2 довольно вместительная, несмотря на то, что внешне выглядит не сколько маленькой, больше компактной. В салоне вполне хватит места разместиться четырем взрослым и одному ребенку. При этом человеку с ростом за метр восемьдесят вполне комфортно будет сидеть на месте, за водителем с примерно таким же ростом.
Комфортабельность салона негативно сказывается на размерах багажника, который у хэтчбека довольно маленький. Для поездок по городу и повседневных нужд его хватит вполне, а вот для семейных поездок на отдых с большим количеством сумок будет маловат. Но это совершенно не отображается на общем мнении о машине, во-первых, Фабия и не позиционируется как семейный автомобиль, а во-вторых, для этих целей есть Шкода Фабия универсал, у которой багажник в разы больше и вместительнее.
Так как Skoda Fabia 2 является бюджетным автомобилем, то ожидать чего-то невероятного в салоне не стоит.
Бюджетность модели авто не означает, что производитель сэкономил на внутренней отделке и салон сделан из некачественных материалов. Он не пестрит красками и не имеет даже намека на роскошь. Главный акцент в салоне отведен эргономике. То есть во время езды, водитель, не задумываясь, с легкостью найдет необходимую ему кнопку или органайзер.
Стоит ли?
И вот очередной обзор б/у автомобиля наполняется внушительным списком поломок, который собирают самими владельцы, обращающиеся к «всемирной сети» за помощью. Такой шквал негатива по отношению к чему-либо способен вызвать отвращение к самым полезным вещам.
Однако, как показывает практика, даже дамы без труда справляются с обслуживанием этой модели, причем затраты при небольших пробегах оказываются просто смешные. Лишь пробег более 100 тыс. км означает единовременное вкладывание немалых средств. Да и то, в основном, в подвеску
Так и получается, что в целом Fabia — надежный, выносливый и, что немаловажно, ликвидный автомобиль. Беспокоят владельца, как правило, мелкие неприятности или какие-нибудь звуки, не обязательно свидетельствующие о скором ремонте
Мотор 1.6 по праву считается самым надежным в линейке
Блок под капотом
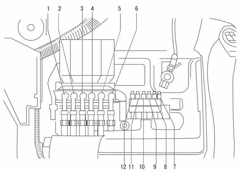
Монтажный блок с предохранителями и плавкими вставками находится в крышке аккумуляторного отсека.

Вариант 1

- Генератор 175А
- Не занят
- 80A внутренний
- 60А Дополнительный электрообогрев
- 40A внутренний
- 50А Вентилятор охлаждения, свечи накаливания
- 50A Электрическое рулевое управление
- 25А АБС, ESP, ASR
- Вентилятор охлаждения 30А
- 5A Вентилятор охлаждения
- 40А АБС, ESP, ASR
- 5A Блок управления
- 5А АКПП, 40А Дополнительный подогрев
Вариант 2

| один | Генератор 175А |
| 2 | Электрический блок управления 80А |
| 3 | 60А Дополнительный отопитель |
| 4 | 40A Hydro — электронный блок управления ABS |
| 5 | 50A Блок управления усилителем рулевого управления |
| 6 | Свечи накаливания 50А |
| 7 | 5A Автоматическая коробка передач |
| восемь | 40A Электрический блок управления |
| девять | Вентилятор охлаждения 30А |
| 10 | 5А Кондиционер |
| одиннадцать | Вентилятор охлаждения 30А |
| 12 | 25A Hydro — электронный блок управления ABS |
> Сервисное руководство
Более подробную информацию о ремонте, эксплуатации и обслуживании Skoda Fabia 2 вы можете получить в этом руководстве: «»
Особенности эксплуатации
Двигатель 1.2 практически не испытывает запредельных нагрузок. Это достигается путем установки ограничителя оборотов. Максимально раскрутить движок можно до 6500 оборотов. Такой показатель не является критичным для него. Также используется только механическая коробка, это делает работу мотора более ровной.
Моторное масло вместе с фильтром меняется при пробеге в 15.000 километров, а также, на каждом последующем ТО. Раз в 30000 устанавливают новый воздушный фильтр. Свечи для этой модели применяются иридиевые, они служат 60000 километров. Привод ГРМ, как уже упоминалось выше, заменяют на пробеге 150.000. Заодно, меняют и все звездочки.
История создания и производства
В 1990 году концерн Skoda Auto стал четвёртым всемирно известным брендом – членом автомобильной семьи немецкого автогиганта Wolksvagen. По требованию материнской компании чехи сняли с производства в 2001 году модель Felicia. Новым «лицом» компании стала модель, представленная осенью 1999 года на автосалоне в немецком Франкфурте. «Поразительная»! Именно так, оглянувшись на латинское слово fabulous, назвали новинку её создатели.
Машина Fabia «первого созыва» сошла с конвейера под кодом Mk1. Автомобиль, сконструированный на основе немецкой платформы A04, получил традиционное для всех машин чешского производства название (с окончанием «ia»). Инженеры не ограничились выпуском хэтчбеков, и на автовыставке в Париже (сентябрь 2001 года) представили на суд требовательной публики ещё один вариант – универсал Fabia Combi, а в Женеве – седан.
Машины-«родственники» Фабии – WV Polo и SEAT Ibiza. На них конструкторы поставили самые разнообразные моторы – от бензиновых 1,2 л. AWV до мощнейших 2-литровых турбодизелей ASZ, ASY и AZL. Единственный мотор чешского производства в первом поколении машин Шкода Фабия – 1,4-литровый MPI-агрегат AUB, модифицированный со времён выпуска моделей Favorit и Estelle, ещё в «донемецкий» период существования концерна Skoda Auto.
Конструкторский коллектив оказался весьма плодовитым на обновления. Вслед за уже вышедшими на рынок машинами появились:
- хэтчбек Fabia Junior;
- грузопассажирский универсал Fabia Praktik.
В 2004 и 2006 годах автомобиль подвергся ограниченному рестайлингу. О степени популярности машины 1-го поколения у европейских потребителей свидетельствует цифра продаж – 1,8 миллиона единиц.
С началом выпуска машин следующего поколения компания отказалась от продажи седанов, и полностью сосредоточила усилия на доведении до совершенства конструкции машин типа «хэтчбек» и «универсал». Как результат – появление в 2009 году машин с пластиковым обвесом кузова, собранных в комплектации Scoult, от чешского дизайнера Ф.Пеликана.
Отличительная особенность машин новой линейки – установка «продвинутой» трансмиссии. Вместо АКПП инженеры предложили использование 7-ступенчатой роботизированной коробки передач DSG в силовой установке с турбированными двс типа TSI.
Преуспел чешский автопроизводитель и в другом направлении. Конструкторы разработали спортивный автомобиль RS. Установленный на него двигатель с двойным турбокомпрессором развивал мощность 180 л.с. Максимальная скорость машины составляла до 225 км/ч. Кроме силовой установки, у неё целый ряд уникальных новинок:
- легкосплавные 17-дюймовые колёсные диски Giugiaro;
- задний бампер с установленным двойным выхлопом и диффузором;
- сиденья спортивного дизайна;
- педали из нержавейки.
Автомобиль Skoda Fabia 2-го поколения до 2014 года собирался крупноузловым методом на автопредприятии в Калуге. А кроме того – в Китае, Индии, на Украине , и в некоторых других странах. Цена авто российской сборки в базовой комплектации составляла 339 тыс.руб.
Мелкие проблемы
Больше всего вопросов вызывают экземпляры калужской сборки
Так, владельцы, указывая на слабые места модели, обращают внимание на пятую дверь, которая из-за перекоса способна протереть краску на заднем бампере. По той же причине может заедать замок крышки багажника
Лечится этот недостаток просто – регулировкой.
Skoda Fabia (2010-). Корма преобразовалась меньше всего. Очевидно, что тут и добавить то нечего. И так все хорошо
Примерно тот же процент владельцев Fabia хотя бы раз застал у себя в нише под «запаску» несколько литров воды, появившейся после недавно выпавших осадков. Продуманные «юзеры» знают, что в этом случае помогает тотальная проклейка вентиляционных отверстий и резиновых уплотнений фонарей.Проблемы с омывателем заднего стекла — также обычное дело. Но и при таком раскладе деньги владельца останутся нетронутыми. Все, что потребуется – это либо вернуть на место слетевший патрубок, либо отрегулировать провернувшуюся вокруг своей оси форсунку.
Обновленный Scout и вовсе можно узнать лишь спереди
Еще одно «узкое место» Skoda Fabia – дворники. Чистят хорошо, но слабый механизм привода многим ограничил видимость в дождливую погоду. Хорошо, что отказывает обычно пассажирская сторона. Тут уже никуда не денешься – придется потратить деньги и заменить трапецию.
А вот к железу хэтчбека придраться не удастся. Ржавчина на кузове Fabia- чрезвычайно редкое явление, появляющееся, в основном, из-за аварий.
Одна из часто встречаемых проблем Fabia – это заедание концевиков дверей, сбивающее с толку бортовой компьютер





























